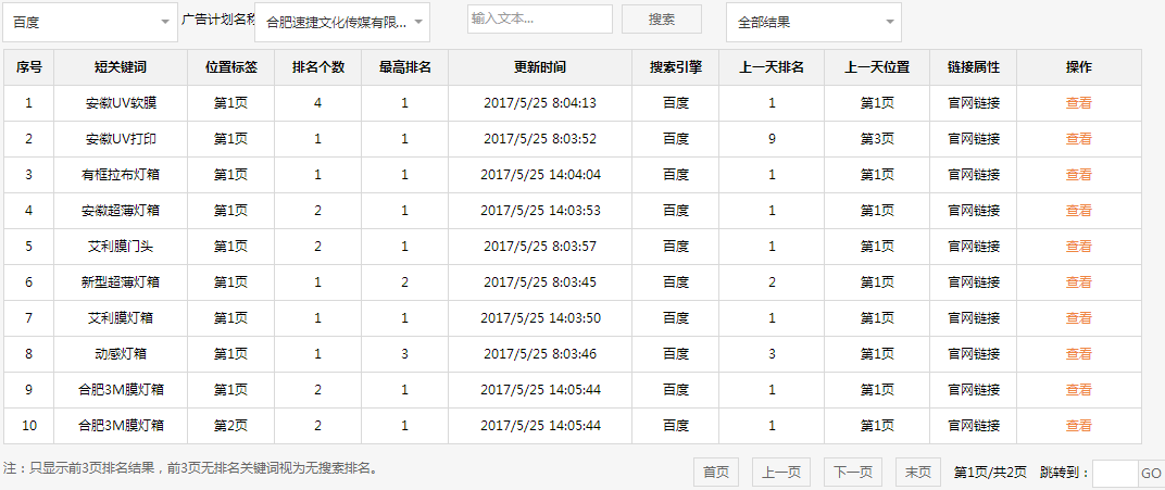
以下为 合肥速捷文化传媒有限公司【www.ahsuj.com】 通过 网赢战车 关键词广告排名展示效果截图:
关键词1 合肥3M膜灯箱 排名第1、第2

关键词2 中国调整臂 排名第1、第3
关键词3 动感灯箱 排名第1
-----------------------------------------------------------------------------------------------------------------------------------------------------------------
网赢战车以中文分词与语义分析技术为核心,坐拥“云词、云链、云赞、云推广”4大人工智能算法机器人,实现人工智能与大数据的完美结合,帮助企业实现全网搜索引擎的关键词的免费排名。
网赢战车产品团队目前有40多位科学家参与研发,拥有140台IBM服务器组成的云营销大数据中心,网赢战车(WIN 3.0)是最新的版本,致力成为全球顶尖的人工智能商业化云服务应用,网赢战车上线销售以来,迅速在中国市场获得了中小企业客户的高度认可,覆盖中国370多个城市的12000多家中小企业,帮助中小企业在搜索引擎营销方面获是了“更低成本、更好效果、免费广告”的惊人效果,是全球最大免费关键词广告引擎。
全国统一销售服务热线:400-071-8888
全国统一客户服务热线:4000-000-366